凸輪轉子泵維修技術要點分析
摘要:凸輪轉子泵是化纖生產中物料(漿料)榆送系統的重要設備,介紹其技術性能、常見故障分析和維修技術要點,為設備通過管道連續…
銷售熱線
021-56082699 56081570
電子郵箱
likaimp@163.com
摘要:凸輪轉子泵是化纖生產中物料(漿料)榆送系統的重要設備,介紹其技術性能、常見故障分析和維修技術要點,為設備通過管道連續…
摘要:在化工領域,考慮到一次投賚成本和維修簡便,很多裝置內輸送物料場合業主習慣選用離心泵的轉子泵型比較多,而轉子泵如螺桿…
隨著生活水平和健康意識的不斷提高,人們對于食品安全的要求也越來越高。在食品及藥品生產過程中越來越多地采用了全自動化控制…
可調計量范圍:0-125L/H
壓力承受范圍:0-25MPa
驅動方式:電機驅動
控制方式:手動、自動控制
配置方式:泵頭保溫、冷卻、電機可配防爆
| 泵頭部位材料 | 工作條件 |
|---|---|
| 計量泵頭:SUS304、SUS316 | 環境溫度: -30℃―+90℃ |
| 計量閥: SUS304、SUS316 | 電機: 二相、三相標準電機或防爆電機 |
| 閥球: 二氧化硅、SUS304、SUS316、陶瓷、氧化鋯 | 功率:0.37KW 0.55KW |
| 密封: 聚四氟乙烯 | 防護等級:IP55 |
| 型號 | 流量(L/H) | 壓力(Mpa) | 柱塞直徑(mm) | 行程(mm) | 泵速(mm) | 電機功率(kw) | 進出口徑(DN) | 重量(kg) |
| JYX 7/20 | 7 | 20 | 10 | 25 | 96/144 | 0.55 | 6 | 37 |
| JYX 7/13 | 7 | 13 | 0.37 | |||||
| JYX 11/14 | 11 | 14 | 12 | 0.55 | ||||
| JYX 11/9.0 | 11 | 9 | 0.37 | |||||
| JYX 16/14 | 16 | 14 | 0.55 | |||||
| JYX 16/9.0 | 16 | 9 | 0.37 | |||||
| JYX 20/8.0 | 20 | 8.0 | 16 | 0.55 | ||||
| JYX 20/5.4 | 20 | 5.4 | 0.37 | |||||
| JYX 30/7.6 | 30 | 7.6 | 0.55 | |||||
| JYX 30/4.0 | 30 | 4.0 | 0.37 | |||||
| JYX 40/4.0 | 40 | 4.0 | 25 | 0.55 | 10 | 40 | ||
| JYX 40/4.0 | 40 | 3.2 | 0.37 | |||||
| JYX 50/3.2 | 50 | 3.2 | 0.55 | |||||
| JYX 50/1.6 | 50 | 1.6 | 0.37 | |||||
| JYX 75/3.2 | 75 | 3.2 | 0.55 | |||||
| JYX 75/2.2 | 75 | 2.2 | 0.37 | |||||
| JYX 100/2.0 | 100 | 2.0 | 28 | 0.55 | ||||
| JYX 100/1.3 | 100 | 1.3 | 0.37 | |||||
| JYX 120/2.0 | 120 | 2.0 | 32 | 0.55 | ||||
| JYX 120/1.3 | 120 | 1.3 | 0.37 | |||||
| JYX 150/1.6 | 150 | 1.6 | 35 | 0.55 | ||||
| JYX 150/1.1 | 150 | 1.1 | 0.37 |
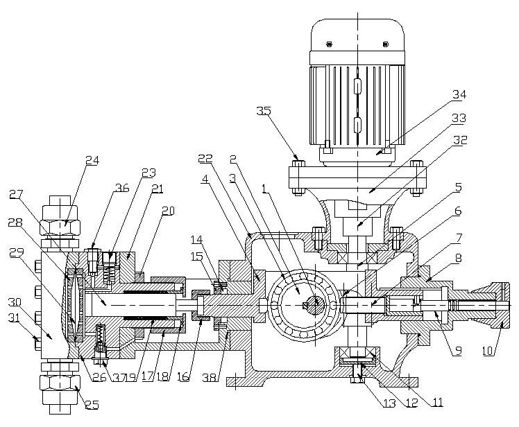
液壓隔膜式計量泵由電動機傳動機構、液壓系統等組成。
傳動機構
1.行程調節機構由曲軸、偏心輪、調節螺母、調節絲桿、調節手輪(柄)、刻度盤〔指針)和標尺構成,由改變偏心距來達到柱塞的相對行程。
2.由電機動力傳遞給蝸桿、蝸輪實現減速旋轉,促使曲軸、連桿機構作往復運動,帶動柱塞產生液力。
液壓系統
1.液壓隔膜式計量泵液力端的柱塞由傳動端的曲柄連桿機構的往復運動帶動進行工作。柱塞在液壓腔內作往復運動,促使液壓油的壓力變化,使液壓隔膜式撓曲位移來輸送介質,液壓腔內液壓油量的相對穩定,由三閥的功能來保持。
2.液壓液壓隔膜式計量泵的液壓系統,其結構由柱塞、缸體、缸蓋、進出口閥、液壓隔膜式和三閥組成(即:放氣過載閥、限位閥、補償閥:)。在工作中由膜片隔開液壓油和介質,故液壓隔膜式計量泵有無泄漏的優點。
3.過載閥自動排出液壓油中進入液壓腔內的氣體,保證工作的平穩,避免了液壓油過多或排放管道受阻產生超壓自動開啟過載閥,達到保護目的。
4.限位補償裝置是借助液壓隔膜式推動限位閥的開放,按液壓腔內的真空度隨時補充油量,保證液壓腔內液壓油的充滿。
裝配圖

| 序號 | 零件名稱 | 件數 | 序號 | 零件名稱 | 件數 | |
| 1 | 主軸 | 1 | 20 | 圓螺帽 | 1 | |
| 2 | 偏心輪 | 1 | 21 | 泵頭聯接頭 | 1 | |
| 3 | 滾輪 | 1 | 22 | 泵體 | 1 | |
| 4 | 連桿 | 1 | 23 | 過載閥 | 1 | |
| 5 | 蝸桿 | 1 | 24 | 排水閥總成 | 1 | |
| 6 | 蝸輪 | 1 | 25 | 進水閥總成 | 1 | |
| 7 | 頂桿 | 1 | 26 | 泵頭底座 | 1 | |
| 8 | 調節器 | 1 | 27 | 柱塞 | 1 | |
| 9 | 調節桿 | 1 | 28 | 膜片底座 | 1 | |
| 10 | 手輪 | 1 | 29 | 膜片 | 1 | |
| 11 | 軸承 | 1 | 30 | 泵頭 | 1 | |
| 12 | 調節底板 | 1 | 31 | 泵頭螺栓 | 6 | |
| 13 | 調節螺絲 | 1 | 32 | 傳動接 | 1 | |
| 14 | 油封 | 1 | 33 | 電機座 | 1 | |
| 15 | 油封壓板 | 1 | 34 | 電機 | 1 | |
| 16 | 聯接螺帽 | 1 | 35 | 螺栓 | 4 | |
| 17 | 填料并帽 | 1 | 36 | 放氣螺絲 | 1 | |
| 18 | 填料壓板 | 1 | 37 | 補油閥 | 1 | |
| 19 | 填料 | 1組 | 38 | 密封圈 | 1 |
安裝尺寸

上一條: JYZ型液壓隔膜式計量泵
下一條: J-D型柱塞式計量泵